執行標準: JG/T230 - 2007
1 范圍
本標準規定了預拌砂漿的定義、分類、符號、標記、原材料、要求、制備、試驗方法、檢驗規則、訂貨與交貨及干混砂漿的包裝、標志、運輸和貯存。
本標準適用于由專業生產廠生產的、用于一般工業與民用建筑物 ( 構筑物 ) 的砌筑、抹灰、地面工程及其他特種用途的水泥基預拌砂漿。
2 規范性引用文件
下列文件中的條款通過本標準的引用而成為本標準的條款。凡是注日期的引用文件,其隨后所有的修改單 ( 不包括勘誤的內容 ) 或修訂版均不適用于本標準,然而,鼓勵根據本標準達成協議的各方研究是否可使用這些文件的最新版本。凡是不注日期的引用文件,其最新版本適用于本標準。
GB 175 硅酸鹽水泥、普通硅酸鹽水泥
GB/T 1596 用于水泥和混凝土中的粉煤灰
GB/T1914 化學分析濾紙
GB 6566 建筑材料放射性核素限量
GB 8076 混凝土外加劑
GB 8624 建筑材料及制品燃燒性能分級
GB/T 9142 混凝土攪拌機
GB 9774 包裝袋
GB/T 18046 用于水泥和混凝土中的粒化高爐礦渣粉
GB/T 18736 高強高性能混凝土用礦物外加劑
GB 50003 砌體結構設計規范
GB/T 20473 — 2006 建筑保溫砂漿
GBJ 129 砌體基本力學性能試驗方法標準
JC 474 砂漿、混凝土防水劑
JC 476 混凝土膨脹劑
JC/T 547 — 2005 陶瓷墻地磚膠粘劑
JC/T 906 — 2002 混凝土地面用水泥基耐磨材料
JC/T 907 — 2002 混凝土界面處理劑
JC/T 984 — 2005 聚合物水泥防水砂漿
JC/T 985 — 2005 地面用水泥基自流平砂漿
JC/T 986 — 2005 水泥基灌漿材料
JG 149 — 2003 膨脹聚苯板薄抹灰外墻外保溫系統
JG 158 — 2005 膠粉聚苯顆粒外墻外保溫系統
JG/T 164 砌筑砂漿增塑劑
JG/T 3049 建筑室內用膩子
JGJ 52 普通混凝土用砂、石質量及檢驗方法標準
JGJ 63 混凝土用水標準
JGJ 70 建筑砂漿基本性能試驗方法
JGJ/T 112 天然沸石粉在混凝土與砂漿中應用技術規程
3 術語和定義
下列術語和定義適用于本標準。
3 . 1
預拌砂漿 ready-mixed mortar
由專業生產廠生產的濕拌砂漿或干混砂漿。
3 . 2
濕拌砂漿 wet-mixed mortar
水泥、細集料、外加劑和水以及根據性能確定的各種組分,按一定比例,在攪拌站經計量、拌制后,采用攪拌運輸車運至使用地點,放入專用容器儲存,并在規定時間內使用完畢的濕拌拌合物。
3 . 2 . 1
濕拌砌筑砂漿 wet-mixed masonry mortar
用于砌筑工程的濕拌砂漿。
3 . 2 . 2
濕拌抹灰砂漿 wet-mixed plastering mortar
用于抹灰工程的濕拌砂漿。
3 . 2 . 3
濕拌地面砂漿 wet-mixed floor screeding mortar
用于建筑地面及屋面找平層的濕拌砂漿。
3 . 2 . 4
濕拌防水砂漿 wet-mixed waterproof mortar
用于抗滲防水部位的濕拌砂漿。
3 . 3
干混砂漿 dry-mixed mortar
經干燥篩分處理的集料與水泥以及根據性能確定的各種組分,按一定比例在專業生產廠混合而成,在使用地點按規定比例加水或配套液體拌合使用的干混拌合物。干混砂漿也稱為干拌砂漿。
3 . 3 . 1
普通干混砂漿 ordinary dry-mixed mortar
用于砌筑、抹灰、地面和普通防水工程的干混砂漿。
3 . 3 . 1 . 1
干混砌筑砂漿 dry-mixed masonry mortar
用于砌筑工程的干混砂漿。
3 . 3 . 1 . 2
干混抹灰砂漿 dry-mixed plastering mortar
用于抹灰工程的干混砂漿。
3 . 3 . 1 . 3
干混地面砂漿 dry-mixed floor screeding mortar
用于建筑地面及屋面找平層的干混砂漿。
3 . 3 . 1 . 4
干混普通防水砂漿 dry-mixed ordinary waterproof mortar
用于抗滲防水部位的干混砂漿。
3 . 3 . 2
特種干混砂漿 special dry-mixed mortar
具有特種性能的干混砂漿。
3 . 3 . 2 . 1
干混瓷磚粘結砂漿 dry-mixed tile adhesive mortar
用于陶瓷墻地磚粘貼的干混砂漿。
3 . 3 . 2 . 2
干混耐磨地坪砂漿 dry-mixed floor hardener mortar
用于混凝土地面、具有一定耐磨性的干混砂漿。
3 . 3 . 2 . 3
干混界面處理砂漿 dry-mixed interface treating mortar
用于改善砂漿層與基面粘結性能的干混砂漿。
3 . 3 . 2 . 4
干混特種防水砂漿 dry-mixed special waterproof mortar
用于有特殊抗滲防水要求部位的干混砂漿。
3 . 3 . 2 . 5
干混自流平砂漿 dry-mixed self-leveling floor mortar
用于地面、能流動找平的干混砂漿。
3 . 3 . 2 . 6
干混灌漿砂漿 dry-mixed grouting mortar
用于設備基礎二次灌漿、地腳螺栓錨固等的干混砂漿。
3 . 3 . 2 . 7
干混外保溫粘結砂漿 dry-mixed adhesive mortar used in external thermal insulation systems
用于膨脹聚苯板外墻外保溫系統的粘結砂漿。
3 . 3 . 2 . 8
干混外保溫抹面砂漿 dry-mixed base coat mortar used in external thermal insulation systems
用于膨脹聚苯板外墻外保溫系統的抹面砂漿。
3 . 3 . 2 . 9
干混聚苯顆粒保溫砂漿 dry-mixed expanded polystyrene granule thermal insulating mortar
用于建筑物墻體保溫隔熱層、以聚苯顆粒為集料的干混砂漿。
3 . 3 . 2 . 10
干混無機集料保溫砂漿 dry-mixed abio-aggregate thermal insulating mortar
用于建筑物墻體保溫隔熱層、以膨脹珍珠巖或膨脹蛭石等為集料的于混砂漿。
3 . 4
保水增稠材料 water-retentive and plastic material
改善砂漿可操作性及保水性能的非石灰類材料。
3 . 5
添加劑 additive
改善砂漿某些性能的改性材料。
3 . 6
填料 stuffing
增加砂漿容量的填充劑。
4 分類、符號及標記
4 . 1 分類和符號
預拌砂漿分為濕拌砂漿和干混砂漿。
4 . 1 . 1 濕拌砂漿分類和符號
4 . 1 . 1 . 1 按用途分為濕拌砌筑砂漿、濕拌抹灰砂漿、濕拌地面砂漿和濕拌防水砂漿,并采用表 1 的符號。
表 1 濕拌砂漿符號
|
品種 |
濕拌砌筑砂漿 |
濕拌抹灰砂漿 |
濕拌地面砂漿 |
濕拌防水砂漿 |
|
符號 |
WM |
WP |
WS |
WW |
4 . 1 . 1 . 2 按強度等級、稠度、凝結時間和抗滲等級的分類應符合表 2 的規定。
表 2 濕拌砂漿分類
|
項目 |
濕拌砌筑砂漿 |
濕拌抹灰砂漿 |
濕拌地面砂漿 |
濕拌防水砂漿 |
|
強度等級 |
M5 、 M7.5 、 M10 、 M15 、 M20 、 M25 、 M30 |
M5 、 M10 、 M15 、 M20 |
M15 、 M20 、 M25 |
M10 、 M15 、 M20 |
|
稠度 / ㎜ |
50 、 70 、 90 |
70 、 90 、 110 |
50 |
50 、 70 、 90 |
|
凝結時間 /h |
8 、 12 、 24 |
8 、 12 、 24 |
4 、 8 |
8 、 12 、 24 |
|
抗滲等級 |
— |
— |
— |
P6 、 P8 、 P10 |
4 . 1 . 2 干混砂漿分類和符號
按用途分為普通干混砂漿和特種干混砂漿。
4 . 1 . 2 . 1 普通干混砂漿分類和符號
4 . 1 . 2 . 1 . 1 按用途分為干混砌筑砂漿、干混抹灰砂漿、干混地面砂漿和干混普通防水砂漿,并采用表 3 的符號。
表 3 普通干混砂漿符號
|
品種 |
干混砌筑砂漿 |
干混抹灰砂漿 |
干混地面砂漿 |
干混普通防水砂漿 |
|
符號 |
DM |
DP |
DS |
DW |
4 . 1 . 2 . 1 . 2 按強度等級和抗滲等級的分類應符合表 4 的規定。
表 4 普通干混砂漿分類
|
項目 |
干混砌筑砂漿 |
干混抹灰砂漿 |
干混地面砂漿 |
干混普通防水砂漿 |
|
強度等級 |
M5 、 M7.5 、 M10 、 M15 、 M20 、 M25 、 M30 |
M5 、 M10 、 M15 、 M20 |
M15 、 M20 、 M25 |
M10 、 M15 、 M20 |
|
抗滲等級 |
— |
— |
— |
P6 、 P8 、 P10 |
4 . 1 . 2 . 2 特種干混砂漿分類和符號
按用途分為干混瓷磚粘結砂漿、干混耐磨地坪砂漿、干混界面處理砂漿、干混特種防水砂漿、干混自 流平砂漿、干混灌漿砂漿、干混外保溫粘結砂漿、干混外保溫抹面砂漿、干混聚苯顆粒保溫砂漿和干混無機集料保溫砂漿,并采用表 5 的符號。
表 5 特種干混砂漿符號
|
品種 |
干混瓷磚 粘結砂漿 |
干混耐磨 地坪砂漿 |
干混界面 處理砂漿 |
干混特種 防水砂漿 |
干混自 流平砂漿 |
|
符號 |
DTA |
DFH |
DIT |
DWS |
DSL |
|
品種 |
干混灌漿砂漿 |
干混外保溫粘結砂漿 |
干混外保溫抹面砂漿 |
干混聚苯顆粒保溫砂漿 |
干混無機集料保溫砂漿 |
|
符號 |
DGR |
DEA |
DBI |
DPG |
DTI |
4 . 2 標記
4 . 2 . 1 濕拌砂漿標記如下:

示例 l :濕拌砌筑砂漿的強度等級為 M10 ,稠度為 70 mm ,凝結時間為 12 h ,其標記為:
WM M10-70-12-JG/T 230 — 2007
示例 2 :濕拌防水砂漿的強度等級為 M15 ,稠度為 70mm ,凝結時間為 12 h ,抗滲要求為 P8 ,其標記為:
WW M15/P8-70-12-JG/T 230 — 2007
4 . 2 . 2 干混砂漿標記
4 . 2 . 2 . 1 普通干混砂漿標記如下:

示例 1 :干混砌筑砂漿的強度等級為 M10 ,其標記為:
DM M10-JG/T 230 — 2007
示例 2 :干混普通防水砂漿的強度等級為 M15 ,抗滲要求為 P8 ,其標記為:
DW M15/P8-JG/T 230 — 2007
4 . 2 . 2 . 2 特種干混砂漿標記如下:

示例 1 :干混灌漿砂漿標記為:
DGR-JG/T 230 — 2007
示例 2 : I 型干混界面處理砂漿標記為:
DIT-I-JG/T 230 — 2007
5 原材料
5 . 1 預拌砂漿所用原材料不應對人體、生物與環境造成有害的影響,并應符合 GB 6566 的規定。
5 . 2 水泥
5 . 2 . 1 宜采用硅酸鹽水泥、普通硅酸鹽水泥,且應符合相應標準的規定。采用其他水泥時應符合相應標準的規定。
5 . 2 . 2 水泥進廠時應具有質量證明文件。對進廠水泥應按國家現行標準的規定按批進行復驗,復驗合格后方可使用。
5 . 3 集料
5 . 3 . 1 細集料應符合 JGJ 52 及其他國家現行標準的規定,且不應含有公稱粒徑大于 5 mm 的顆粒。
5 . 3 . 2 細集料進廠時應具有質量證明文件。對進廠細集料應按 JGJ 52 等國家現行標準的規定按批進行復驗,復驗合格后方可使用。
5 . 3 . 3 輕集料應符合相關標準的要求或有充足的技術依據,并應在使用前進行試驗驗證。
5 . 4 礦物摻合料
5 . 4 . 1 粉煤灰、粒化高爐礦渣粉、天然沸石粉、硅灰應分別符合 GB/T 1596 、 GB/T 18046 、 JGJ/T112 、 GB/T 18736 的規定。當采用其他品種礦物摻合料時,應有充足的技術依據,并應在使用前進行試驗驗證。
5 . 4 . 2 礦物摻合料進廠時應具有質量證明文件,并按有關規定進行復驗,其摻量應符合有關規定并通過試驗確定。
5 . 5 外加劑
5 . 5 . 1 外加劑應符合 GB 8076 、 JC 474 、 JC 476 等國家現行標準的規定。
5 . 5 . 2 外加劑進廠時應具有質量證明文件。對進廠外加劑應按批進行復驗,復驗項目應符合相應標準的規定,復驗合格后方可使用。
5 . 6 保水增稠材料
采用保水增稠材料時,必須有充足的技術依據,并應在使用前進行試驗驗證。用于砌筑砂漿的應符合 JG/T 164 的規定。
5 . 7 添加劑
可再分散膠粉、顏料、纖維等應符合相關標準的要求或有充足的技術依據,并應在使用前進行試驗驗證。
5 . 8 填料
重質碳酸鈣、輕質碳酸鈣、石英粉、滑石粉等應符合相關標準的要求或有充足的技術依據,并應在使用前進行試驗驗證。
5 . 9 拌合用水
拌制砂漿用水應符合 JGJ 63 的規定。
6 要求
6 . 1 濕拌砂漿
6 . 1 . 1 濕拌砌筑砂漿的砌體力學性能應符合 GB 50003 的規定,濕拌砌筑砂漿拌合物的密度不應小于 1800 kg /m 3 。
6 . 1 . 2 濕拌砂漿性能應符合表 6 的要求。
表 6 濕拌砂漿性能指標
|
項目 |
濕拌砌筑砂漿 |
濕拌抹灰砂漿 |
濕拌地面砂漿 |
濕拌防水砂漿 | |
|
強度等級 |
M5 、 M7.5 、 M10 、 M15 、 M20 、 M25 、 M30 |
M5 |
M10 、 M15 、 M20 |
M15 、 M20 、 M25 |
M10 、 M15 、 M20 |
|
稠度 / ㎜ |
50 、 70 、 90 |
70 、 90 、 110 |
50 |
50 、 70 、 90 | |
|
凝結時間 /h |
≥ 8 、≥ 12 、≥ 24 |
≥ 8 、≥ 12 、≥ 24 |
≥ 4 、≥ 8 |
≥ 8 、≥ 12 、≥ 24 | |
|
保水性 /% |
≥ 88 |
88 |
≥ 88 |
≥ 88 | |
|
14d 拉伸粘結強度 /MPa |
— |
≥ 0.15 |
≥ 0.20 |
— |
≥ 0.2 |
|
抗滲等級 |
— |
— |
— |
P6 、 P8 、 P10 | |
6 . 1 . 3 濕拌砂漿稠度實測值與合同規定的稠度值之差應符合表 7 的規定。
表 7 濕拌砂漿稠度允許偏差
|
規定稠度 / ㎜ |
允許偏差 / ㎜ |
|
50 、 70 、 90 |
± 10 |
|
110 |
-10 ~ +5 |
6 . 2 干混砂漿
6 . 2 . 1 普通干混砂漿
6 . 2 . 1 . 1 干混砌筑砂漿的砌體力學性能應符合 GB 50003 的規定,干混砌筑砂漿拌合物的密度不應小于 1800 kg /m 3 。
6 . 2 . 1 . 2 普通干混砂漿性能應符合表 8 的要求。
表 8 普通干混砂漿性能指標
|
項目 |
干混砌筑砂漿 |
干混抹灰砂漿 |
干混地面砂漿 |
干混普通防水砂漿 | |
|
強度等級 |
M5 、 M7.5 、 M10 、 M15 、 M20 、 M25 、 M30 |
M5 |
M10 、 M15 、 M20 |
M15 、 M20 、 M25 |
M10 、 M15 、 M20 |
|
凝結時間 /h |
3 ~ 8 |
3 ~ 8 |
3 ~ 8 |
3 ~ 8 | |
|
保水性 /% |
≥ 88 |
88 |
≥ 88 |
≥ 88 | |
|
14d 拉伸粘結強度 /MPa |
— |
≥ 0.15 |
≥ 0.20 |
— |
≥ 0.20 |
|
抗滲等級 |
— |
— |
— |
P6 、 P8 、 P10 | |
6 . 2 . 2 特種干混砂漿
6 . 2 . 2 . 1 外觀
粉狀產品應均勻、無結塊。
雙組分產品液料組分經攪拌后應呈均勻狀態、無沉淀;粉料組分應均勻、無結塊。
6 . 2 . 2 . 2 干混瓷磚粘結砂漿的性能應符合表 9 的要求。
表 9 干混瓷磚粘結砂漿性能指標
|
項目 |
性能指標 | |||
|
基本性能 |
普通型 |
拉伸粘結強度 / MPa |
未處理 |
≥ 0.5 |
|
浸水處理 | ||||
|
熱處理 | ||||
|
凍融循環處理 | ||||
|
晾置 20min | ||||
|
快硬型 |
拉伸粘結強度 / MPa |
24h |
≥ 0.5 | |
|
晾置 10min | ||||
|
其他要求同普通型 | ||||
|
可選性能 |
滑移 / ㎜ |
≤ 0.5 | ||
|
拉伸粘結強度 /MPa |
未處理 |
≥ 1.0 | ||
|
浸水處理 | ||||
|
熱處理 | ||||
|
凍融循環處理 | ||||
|
晾置 30min |
≥ 0.5 | |||
6 . 2 . 2 . 3 干混耐磨地坪砂漿的性能應符合表 10 的要求。
表 10 干混耐磨地坪砂漿性能指標
|
項目 |
性能指標 | |
|
I 型 |
II 型 | |
|
集料含量偏差 |
生產商控制指標的± 5% | |
|
28d 抗壓強度 /MPa |
≥ 80.0 |
≥ 90.0 |
|
28d 抗折強度 /MPa |
≥ 10.5 |
≥ 13.5 |
|
耐磨度比 /% |
≥ 300 |
≥ 350 |
|
表面強度(壓痕直徑) / ㎜ |
≤ 3.30 |
≤ 3.10 |
|
顏色(與標準樣比) |
近似~微 | |
|
注 1: “近似”表示用肉眼基本看不出色差,“微”表示用肉眼看似乎有點色差。 注 2: I 型為非金屬氧化物集料干混耐磨地坪砂漿; II 型為金屬氧化物集料或金屬集料干混耐磨地坪砂漿。 | ||
6 . 2 . 2 . 4 干混界面處理砂漿的性能應符合表 11 的要求。
表 11 干混界面處理砂漿性能指標
|
項目 |
性能指標 | |||
|
I 型 |
II 型 | |||
|
剪切粘結強度 /MPa |
7d |
≥ 1.0 |
≥ 0.7 | |
|
14d |
≥ 1.5 |
≥ 1.0 | ||
|
拉伸粘結強度 /MPa |
未處理 |
7d |
≥ 0.4 |
≥ 0.3 |
|
14d |
≥ 0.6 |
≥ 0.5 | ||
|
浸水處理 |
≥ 0.5 |
≥ 0.3 | ||
|
熱處理 | ||||
|
凍融循環處理 | ||||
|
堿處理 | ||||
|
晾置時間 /min |
— |
≥ 10 | ||
|
注: I 型適用于水泥混凝土的界面處理; II 型適用于加氣混凝土的界面處理。 | ||||
6 . 2 . 2 . 5 干混特種防水砂漿的性能應符合表 12 的要求。
表 12 干混特種防水砂漿性能指標
|
項目 |
性能指標 | |||
|
I 型(干粉類) |
II 型(乳液類) | |||
|
凝結時間 |
初凝時間 /min |
≥ 45 |
≥ 45 | |
|
終凝時間 /h |
≤ 12 |
≤ 24 | ||
|
抗滲壓力 /MPa |
7d |
≥ 1.0 | ||
|
28d |
≥ 1.5 | |||
|
28d 抗壓強度 /MPa |
≥ 24.0 | |||
|
28d 抗折強度 /MPa |
≥ 8.0 | |||
|
壓折比 |
≤ 3.0 | |||
|
拉伸粘結強度 /MPa |
7d |
≥ 1.0 | ||
|
28d |
≥ 1.2 | |||
|
耐堿性:飽和 Ca(OH) 2 溶液, 168h |
無開裂、剝落 | |||
|
耐熱性: 100 ℃ 水, 5h |
無開裂、剝落 | |||
|
抗凍性: -15 ℃~+ 20 ℃ , 25 次 |
無開裂、剝落 | |||
|
28d 收縮率 /% |
≤ 0.15 | |||
6 . 2 . 2 . 6 干混自流平砂漿的性能應符合表 13 的要求。
表 13 干混自流平砂漿性能指標
|
項目 |
性能指標 | |||||||||
|
流動度 / ㎜ |
初始流動度 |
≥ 130 | ||||||||
|
20min 流動度 |
≥ 130 | |||||||||
|
拉伸粘結強度 /MPa |
≥ 1.0 | |||||||||
|
耐磨性 /g |
≤ 0.50 | |||||||||
|
尺寸變化率 /% |
-0.15 ~+ 0.15 | |||||||||
|
抗沖擊性 |
無開裂或脫離底板 | |||||||||
|
24h 抗壓強度 /MPa |
≥ 6.0 | |||||||||
|
24h 抗折強度 /MPa |
≥ 2.0 | |||||||||
|
抗壓強度等級 | ||||||||||
|
強度等級 |
C16 |
C20 |
C25 |
C30 |
C35 |
C40 | ||||
|
28d 抗壓強度 /MPa |
≥ 16 |
≥ 20 |
≥ 25 |
≥ 30 |
≥ 35 |
≥ 40 | ||||
|
抗折強度等級 | ||||||||||
|
強度等級 |
F4 |
F6 |
F7 |
F10 | ||||||
|
24d 抗折強度 /MPa |
≥ 4 |
≥ 6 |
≥ 7 |
≥ 10 | ||||||
6 . 2 . 2 . 7 干混灌漿砂漿的性能應符合表 14 的要求。
表 14 干混灌漿砂漿性能指標
|
項目 |
性能指標 | |
|
粒徑 |
4.75 ㎜方孔篩篩余 /% |
≤ 2.0 |
|
凝結時間 |
初凝 /min |
≥ 120 |
|
泌水率 /% |
≤ 1.0 | |
|
流動度 / ㎜ |
初始流動度 |
≥ 260 |
|
30min 流動度保留值 |
≥ 230 | |
|
抗壓強度 /MPa |
1d |
≥ 22.0 |
|
3d |
≥ 40 | |
|
28d |
≥ 70 | |
|
豎向膨脹率 /% |
1d |
≥ 0.020 |
|
鋼筋握裹強度 ( 圓鋼 )/MPa |
28d |
≥ 4.0 |
|
對鋼筋銹蝕作用 |
應說明對鋼筋有無銹蝕作用 | |
6 . 2 . 2 . 8 干混外保溫粘結砂漿的性能應符合表 15 的要求。
表 15 干混外保溫粘結砂漿性能指標
|
項目 |
性能指標 | |
|
粘結砂漿 | ||
|
拉伸粘結強度 /MPa( 與水泥砂漿 ) |
未處理 |
≥ 0.60 |
|
浸水處理 |
≥ 0.40 | |
|
拉伸粘結強度 /MPa( 與膨脹聚苯板 ) |
未處理 |
≥ 0.10 ,破壞界面在膨脹聚苯板上 |
|
浸水處理 |
≥ 0.10 ,破壞界面在膨脹聚苯板上 | |
|
可操作時間 /h |
1.5 ~ 4.0 | |
6 . 2 . 2 . 9 干混外保溫抹面砂漿的性能應符合表 16 的要求。
表 16 干混外保溫抹面砂漿性能指標
|
項目 |
性能指標 | |
|
粘結砂漿 | ||
|
拉伸粘結強度 /MPa( 與膨脹聚苯板 ) |
未處理 |
≥ 0.10 ,破壞界面在膨脹聚苯板上 |
|
浸水處理 |
≥ 0.10 ,破壞界面在膨脹聚苯板上 | |
|
凍融循環處理 |
≥ 0.10 ,破壞界面在膨脹聚苯板上 | |
|
抗壓強度 / 抗折強度 |
≤ 3.0 | |
|
可操作時間 /h |
1.5 ~ 4.0 | |
6 . 2 . 2 . 10 干混聚苯顆粒保溫砂漿的性能應符合表 17 的要求。
表 17 干混聚苯顆粒保溫砂漿性能指標
|
項目 |
性能指標 |
|
濕表觀密度 /( ㎏ /m 3 ) |
≤ 420 |
|
干表觀密度 /( ㎏ /m 3 ) |
180 ~ 250 |
|
導熱系數 /(W/(m · k)) |
≤ 0.060 |
|
蓄熱系數 /(W/( ㎡· k)) |
≥ 0.95 |
|
抗壓強度 /kPa |
≥ 200 |
|
壓剪粘結強度 /kPa |
≥ 50 |
|
線性收縮率 /% |
≤ 0.3 |
|
軟化系數 |
≥ 0.5 |
|
難燃性 |
B 1 級 |
6 . 2 . 2 . 11 干混無機集料保溫砂漿的性能應符合表 18 的要求。
表 18 干混無機集料保溫砂漿的性能指標
|
項目 |
性能指標 | |
|
I 型 |
II 型 | |
|
分層度 / ㎜ |
≤ 20 |
≤ 20 |
|
堆積密度 /( ㎏ /m 3 ) |
≤ 250 |
≤ 350 |
|
干密度 /( ㎏ /m 3 ) |
240 ~ 300 |
301 ~ 400 |
|
抗壓強度 /MPa |
≥ 0.20 |
≥ 0.40 |
|
導熱系數 ( 平均溫度 25 ℃ )/(W/(m · k)) |
≤ 0.070 |
≤ 0.085 |
|
線性收縮率 /% |
≤ 0.30 | |
|
壓剪粘結強度 /kPa |
≥ 50 | |
|
燃燒性能級別 |
應符合 GB8624 規定的 A 級要求 | |
|
注 :I 型和 II 型根據干密度劃分。 | ||
7 制備
7 . 1 濕拌砂漿
7 . 1 . 1 材料貯存
7 . 1 . 1 . 1 各種材料必須分倉貯存,并應有明顯的標識。
7 . 1 . 1 . 2 水泥應按生產廠家、水泥品種及強度等級分別貯存,同時應具有防潮、防污染措施。
7 . 1 . 1 . 3 細集料的貯存應保證其均勻性,不同品種、規格的細集料應分別貯存。細集料的貯存地面應為能排水的硬質地面。
7 . 1 . 1 . 4 保水增稠材料、外加劑應按生產廠家、品種分別貯存,并應具有防止質量發生變化的措施。
7 . 1 . ] . 5 礦物摻合料應按品種、級別分別貯存,嚴禁與水泥等其他粉狀料混雜。
7 . 1 . 2 攪拌樓
7 . 1 . 2 . 1 攪拌機應采用符合 GB/T 9142 規定的固定式攪拌機。
7 . 1 . 2 . 2 計量設備應按有關規定由法定計量部門進行檢定,使用期間應定期進行校準。
7 . 1 . 2 . 3 計量設備應能連續計量不同配合比砂漿的各種材料,并應具有實際計量結果逐盤記錄和貯存功能。
7 . 1 . 3 運輸車
7 . 1 . 3 . 1 應采用攪拌運輸車運送。
7 . 1 . 3 . 2 運輸車在運送時應能保證砂漿拌合物的均勻性,不應產生分層離析現象。
7 . 1 . 4 計量
7 . 1 . 4 . 1 各種固體原材料的計量均應按質量計,水和液體外加劑的計量可按體積計。
7 . 1 . 4 . 2 原材料的計量允許偏差不應大于表 19 規定的范圍。
表 19 濕拌砂漿原材料計量允許偏差
|
序號 |
原材料品種 |
水泥 |
細集料 |
水 |
保水增稠材料 |
外加劑 |
摻合料 |
|
1 |
每盤計量允許偏差 /% |
± 2 |
± 3 |
± 2 |
± 4 |
± 3 |
± 4 |
|
2 |
累計計量允許偏差 /% |
± 1 |
± 2 |
± 1 |
± 2 |
± 2 |
± 2 |
|
注:累計計量允許偏差是指每一運輸車中各盤砂漿的每種材料計量和的偏差。 | |||||||
7 . 1 . 5 生產
7 . 1 . 5 . 1 濕拌砂漿應采用符合本標準 7 . 1 . 2 . 1 規定的攪拌機進行攪拌。
7 . 1 . 5 . 2 濕拌砂漿最短攪拌時間 ( 從全部材料投完算起 ) 不應小于 90s 。
7 . 1 . 5 . 3 生產中應測定細集料的含水率,每一工作班不宜少于 1 次。
7 . 1 . 5 . 4 濕拌砂漿在生產過程中應避免對周圍環境的污染,攪拌站機房應為封閉式建筑,所有粉料的輸送及計量工序均應在密封狀態下進行,并應有收塵裝置。砂料場應有防揚塵措施。
7 . 1 . 5 . 5 攪拌站應嚴格控制生產用水的排放。
7 . 1 . 6 運送
7 . 1 . 6 . 1 濕拌砂漿應采用本標準 7 . 1 . 3 . 1 規定的運輸車運送。
7 . 1 . 6 . 2 運輸車在裝料前,裝料口應保持清潔,筒體內不應有積水、積漿及雜物。
7 . 1 . 6 . 3 在裝料及運送過程中,應保持運輸車簡體按一定速度旋轉。
7 . 1 . 6 . 4 嚴禁向運輸車內的砂漿加水。
7 . 1 . 6 . 5 運輸車在運送過程中應避免遺灑。
7 . 1 . 7 濕拌砂漿供貨量以 m 3 為計算單位。
7 . 2 干混砂漿
7 . 2 . 1 材料貯存
7 . 2 . 1 . 1 各種原材料貯存應符合本標準 7 . 1 . 1 的規定。
7 . 2 . 1 . 2 集料應進行干燥處理,砂含水率應小于 0.5 %,輕集料含水率應小于 1.0 %,其他材料含水率應小于 1.0 %。
7 . 2 . 1 . 3 添加劑、填料應按生產廠家、品種分別貯存,并應具有防止質量發生變化的措施。
7 . 2 . 2 混合系統
7 . 2 . 2 . 1 混合機宜采用自動控制的干粉混合機。
7 . 2 . 2 . 2 計量設備應按有關規定由法定計量部門進行檢定,使用期間應定期進行校準。
7 . 2 . 2 . 3 計量設備應滿足計量精度要求。
7 . 2 . 3 計量
7 . 2 . 3 . 1 各種原材料的計量均應按質量計。
7 . 2 . 3 . 2 原材料的計量允許偏差不應大于表 20 規定的范圍。
表 20 干混砂漿原材料計量允許偏差
|
原材料品種 |
水泥 |
集料 |
保水增稠材料 |
外加劑 |
摻合料 |
其他材料 |
|
計量允許偏差 /% |
± 2 |
± 2 |
± 2 |
± 2 |
± 2 |
± 2 |
7 . 2 . 4 生產
7 . 2 . 4 . 1 干混砂漿宜采用符合本標準 7 . 2 . 2 . 1 規定的混合機進行混合。
7 . 2 . 4 . 2 生產中應測定干砂及輕集料的含水率,每一工作班不宜少于 1 次。
7 . 2 . 4 . 3 砂漿品種更換時,混合及輸送設備應清理干凈。
7 . 2 . 4 . 4 干混砂漿在生產過程中應避免對周圍環境的污染,所有材料的輸送及計量工序均應在密封狀態下進行,并應有收塵裝置。砂料場應有防揚塵措施。
8 試驗方法
濕拌砂漿按實際稠度試驗。普通干混砂漿試驗時的稠度為:砌筑砂漿 70mm ~ 80mm ,抹灰砂漿 90mm ~ 100mm ,地面砂漿 45mm ~ 55mm ,普通防水砂漿 70mm ~ 80mm 。
8 . 1 密度
濕拌砌筑砂漿、干混砌筑砂漿的密度試驗應按 JGJ70 的有關規定進行。
8 . 2 稠度
濕拌砂漿的稠度試驗應按 JGJ70 的有關規定進行。
8 . 3 凝結時間
8 . 3 . 1 普通干混砂漿的凝結時間試驗應按 JGJ 70 的有關規定進行。
8 . 3 . 2 濕拌砂漿凝結時間的試驗除應按 JGJ 70 的有關規定進行外,尚應符合下列規定:
8 . 3 . 2 . 1 裝有砂漿的試模應置于密閉容器中;
8 . 3 . 2 . 2 貫入值的測定時間應取該砂漿凝結時間的 1/4 、 1/2 、 3/4 和凝結時間對應的時間。
8 . 4 抗壓強度
濕拌砂漿和普通干混砂漿的抗壓強度試驗應按 JGJ 70 的有關規定進行。
8 . 5 保水性
濕拌砂漿和普通干混砂漿的保水性試驗應按附錄 A 的規定進行。
8 . 6 拉伸粘結強度
濕拌砂漿和普通干混砂漿的拉伸粘結強度試驗應按附錄 B 的規定進行。
8 . 7 抗滲性
濕拌防水砂漿、干混普通防水砂漿的抗滲性試驗應按 JC 474 的規定進行。
8 . 8 砌體力學性能
濕拌砌筑砂漿、干混砌筑砂漿的砌體抗壓強度、抗剪強度試驗應按 GBJ 129 的規定進行。
8 . 9 干混瓷磚粘結砂漿性能
干混瓷磚粘結砂漿的性能試驗應按 JC/T 547 — 2005 的規定進行。
8 . 10 干混耐磨地坪砂漿性能
干混耐磨地坪砂漿的性能試驗應按 JC/T 906 — 2002 的規定進行。
8 . 11 干混界面處理砂漿性能
干混界面處理砂漿的性能試驗應按 JC/T 907 — 2002 的規定進行。
8 . 12 干混特種防水砂漿性能
干混特種防水砂漿的性能試驗應按 JC/T 984 — 2005 的規定進行。
8 . 13 干混自流平砂漿性能
干混自流平砂漿的性能試驗應按 JC/T 985 — 2005 的規定進行。
8 . 14 干混灌漿砂漿性能
干混灌漿砂漿的性能試驗應按 JC/T 986 — 2005 的規定進行。
8 . 15 干混外保溫粘結砂漿性能
干混外保溫粘結砂漿的性能試驗應按 JG 149 — 2003 的規定進行。
8 . 16 干混外保溫抹面砂漿性能
干混外保溫抹面砂漿的性能試驗應按 JG 149 — 2003 的規定進行。
8 . 17 干混聚苯顆粒保溫砂漿性能
干混聚苯顆粒保溫砂漿的性能試驗應按 JG 158 — 2005 的規定進行。
8 . 18 干混無機集料保溫砂漿性能
干混無機集料保溫砂漿的性能試驗應按 GB/T 20473 — 2006 的規定進行。
9 檢驗規則
9 . 1 一般規定
9 . 1 . 1 預拌砂漿質量的檢驗分出廠檢驗、型式檢驗和交貨檢驗。
9 . 1 . 2 預拌砂漿出廠前應按要求對砂漿質量進行檢驗。出廠檢驗的取樣試驗工作應由供方承擔。
9 . 1 . 3 型式檢驗項目為第 6 章規定的全部項目。
在下列情況下進行型式檢驗:
a) 新產品投產或產品定型鑒定時;
b) 正常生產時,每 1a 至少進行一次;
c) 主要原材料、配合比或生產工藝有較大改變時;
d) 出廠檢驗結果與上次型式檢驗結果有較大差異時;
e) 停產六個月以上恢復生產時;
f) 國家質量監督檢驗機構提出型式檢驗要求時。
9 . 1 . 4 交貨檢驗應按下列規定進行:
a) 供需雙方應在合同規定的交貨地點對濕拌砂漿質量進行檢驗。濕拌砂漿交貨檢驗的取樣試驗工作應由需方承擔,當需方不具備試驗條件時,供需雙方可協商確定承擔單位,其中包括委托供需雙方認可的有檢驗資質的檢驗單位,并應在合同中予以明確。
b) 干混砂漿交貨時的質量驗收可抽取實物試樣,以其檢驗結果為依據,或以同批號干混砂漿的檢驗報告為依據。采取的驗收方法由供需雙方商定并在合同中注明。
9 . 1 . 5 當判定預拌砂漿質量是否符合要求時,交貨檢驗項目以交貨檢驗結果為依據;其他檢驗項目按合同規定執行。
9 . 1 . 6 交貨檢驗的結果應在試驗結束后 15 d 內通知供方。
9 . 2 檢驗項目
9 . 2 . 1 濕拌砂漿
濕拌砂漿的出廠及交貨檢驗項目應符合表 21 的規定。
表 21 濕拌砂漿的出廠及交貨檢驗項目
|
品種 |
出廠檢驗項目 |
交貨檢驗項目 |
|
濕拌砌筑砂漿 |
強度、稠度、密度、凝結時間、保水性 |
強度、稠度、保水性 |
|
濕拌抹灰砂漿 |
強度、稠度、凝結時間、保水性、拉伸粘結強度 |
強度、稠度、保水性、拉伸粘結強度 |
|
濕拌地面砂漿 |
強度、稠度、凝結時間、保水性 |
強度、稠度、保水性 |
|
濕拌防水砂漿 |
強度、稠度、凝結時間、保水性、拉伸粘結強度、抗滲等級 |
強度、稠度、保水性、拉伸粘結強度、抗滲等級 |
9 . 2 . 2 干混砂漿
9 . 2 . 2 . 1 普通干混砂漿
普通干混砂漿的出廠及交貨檢驗項目應符合表 22 的規定。
表 22 普通干混砂漿的出廠及交貨檢驗項目
|
品種 |
出廠檢驗項目 |
交貨檢驗項目 |
|
干混砌筑砂漿 |
強度、密度、凝結時間、保水性 |
強度、保水性 |
|
干混抹灰砂漿 |
強度、凝結時間、保水性、拉伸粘結強度 |
強度、保水性、拉伸粘結強度 |
|
干混地面砂漿 |
強度、凝結時間 |
強度 |
|
干混普通防水砂漿 |
強度、凝結時間、保水性、拉伸粘結強度、抗滲等級 |
強度、保水性、拉伸粘結強度、抗滲等級 |
9 . 2 . 2 . 2 特種干混砂漿
特種干混砂漿的出廠及交貨檢驗項目應符合表 23 的規定。
表 23 特種干混砂漿的出廠及交貨檢驗項目
|
品種 |
出廠檢驗項目 |
交貨檢驗項目 |
|
干混瓷磚粘結砂漿 |
晾置時間、拉伸粘結原強度 |
晾置時間、拉伸粘結原強度 |
|
干混耐磨地坪砂漿 |
外觀、集料含量偏差、耐磨度比 |
外觀、集料含量偏差、耐磨度比 |
|
干混界面處理砂漿 |
外觀、 7d 剪切粘結強度、 7d 拉伸粘結原強度 |
外觀、 7d 剪切粘結強度、 7d 拉伸粘結原強度 |
|
干混特種防水砂漿 |
外觀、凝結時間、抗滲壓力( 7d )、粘結強度( 7d ) |
外觀、凝結時間、抗滲壓力( 7d )、粘結強度( 7d ) |
|
干混自流平砂漿 |
外觀、流動度、抗壓強度( 24h 、 28d )、抗折強度( 24h 、 28d ) |
外觀、流動度、抗壓強度( 24h 、 28d )、抗折強度( 24h 、 28d ) |
|
干混灌漿砂漿 |
粒徑、流動度、抗壓強度( 1d 、 3d 、 28d )、豎向膨脹率 |
粒徑、流動度、抗壓強度( 1d 、 3d 、 28d )、豎向膨脹率 |
|
干混外保溫粘結砂漿 |
拉伸粘結原強度、可操作時間 |
拉伸粘結原強度、可操作時間 |
|
干混外保溫抹面砂漿 |
拉伸粘結原強度、可操作時間 |
拉伸粘結原強度、可操作時間 |
|
干混聚苯顆粒保溫砂漿 |
濕表觀密度 |
濕表觀密度 |
|
干混無機集料保溫砂漿 |
外觀、堆積密度、分層度 |
外觀、堆積密度、分層度 |
9 . 3 取樣與組批
9 . 3 . 1 濕拌砂漿
9 . 3 . 1 . 1 用于出廠檢驗的濕拌砂漿試樣應在攪拌地點采取,用于交貨檢驗的濕拌砂漿試樣應在交貨地點采取。
9 . 3 . 1 . 2 交貨檢驗的濕拌砂漿試樣應隨機從同一運輸車中抽取,砂漿試樣應在卸料過程中卸料量的 1/4 至 3/4 之間采取。
9 . 3 . 1 . 3 交貨檢驗濕拌砂漿試樣的采取及稠度、保水性試驗應在砂漿運到交貨地點時開始算起 20min 內完成,試件的制作應在 30 min 內完成。
9 . 3 . 1 . 4 每個試驗取樣量應大于砂漿檢驗項目所需用量的 2 倍,且不宜少于 0.01 m 3 。
9 . 3 . 1 . 5 濕拌砂漿強度檢驗的試樣,其取樣頻率和組批應按下列規定進行:
a) 用于出廠檢驗的試樣,每 50m 3 相同配合比的濕拌砂漿,取樣不應少于一次;每一工作班相同配合比的濕拌砂漿不足 50m 3 時,取樣不應少于一次。
b) 用于交貨檢驗的試樣,濕拌砌筑砂漿應按 GB 50203 規定執行;濕拌地面砂漿應按 GB 50209 規定執行;濕拌抹灰砂漿和濕拌防水砂漿每一工作班取樣不應少于一次。
9 . 3 . 1 . 6 濕拌砂漿的稠度、密度、保水性、凝結時間和拉伸粘結強度檢驗試樣的取樣頻率應與濕拌砂漿強度檢驗的取樣頻率一致。
9 . 3 . 1 . 7 濕拌防水砂漿抗滲性能檢驗的試樣,用于出廠及交貨檢驗的取樣頻率均應為每 100m 3 相同配合比的砂漿,取樣不應少于一次;每一工作班相同配合比的砂漿不足 100m 3 時,取樣不應少于一次。
9 . 3 . 1 . 8 特殊要求項目檢驗的取樣頻率應按合同規定進行。
9 . 3 . 2 干混砂漿
9 . 3 . 2 . 1 根據生產廠產量和生產設備條件,按同品種、同規格型號分批:
a) 普通干混砂漿
年產量 10 × 10 4 t 以上,不超過 800t 為一批;
年產量 4 × 10 4 t ~ 10 × 10 4 t ,不超過 600t 為一批;
年產量 4 × 10 4 t 以下,不超過 400t 或 4d 產量為一批。
b) 特種干混砂漿
特種干混砂漿以不超過 400t 或 4d 產量為一批。
每批為一取樣單位,取樣應隨機進行。
9 . 3 . 2 . 2 出廠檢驗試樣應在出料口連續采取,或從 20 個以上不同部位取等量樣品。普通干混砂漿試樣總量不少于 40kg ,特種干混砂漿試樣總量不少于 30kg 。
9 . 3 . 2 . 3 交貨時干混砂漿的質量驗收可抽取實物試樣以其檢驗結果為依據,也可以生產廠同批砂漿的檢驗報告為依據,采取何種方法驗收由供需雙方商定,并在合同中注明。
9 . 3 . 2 . 3 . 1 交貨檢驗以抽取實物試樣的檢驗結果為驗收依據時,供需雙方應在發貨前或交貨地點共同取樣和簽封。每批的取樣應隨機進行,普通干混砂漿試樣不少于 80 kg ,特種干混砂漿試樣不少于 60 kg 。將試樣縮分為兩等份,一份由供方封存 40d ,另一份由需方按本標準規定進行檢驗。
在 40 d 內,需方經檢驗認為產品質量有問題而供方又有異議時,雙方應將供方保存的另一份試樣送省級或省級以上國家認可的質量監督檢驗機構進行仲裁檢驗。
9 . 3 . 2 . 3 . 2 交貨檢驗以生產廠同批砂漿的檢驗報告為驗收依據時,在發貨前或交貨時需方在同批砂漿中抽取試樣,普通干混砂漿試樣不少于 40 kg ,特種干混砂漿試樣不少于 30 kg ,雙方共同簽封后保存,普通干混砂漿保存 3 個月,特種干混砂漿保存 6 個月 ( 干混灌漿砂漿保存 3 個月 ) 。
在 3 個月內,需方對普通干混砂漿和干混灌漿砂漿質量有疑問時,則供需雙方應將簽封的試樣送省級或省級以上國家認可的質量監督檢驗機構進行仲裁檢驗。在 6 個月內,需方對特種于混砂漿質量有疑問時,則供需雙方應將簽封的試樣送省級或省級以上國家認可的質量監督檢驗機構進行仲裁檢驗。
9 . 3 . 2 . 4 特殊要求項目檢驗的取樣頻率應按合同規定進行。
9 . 4 判定規則
9 . 4 . 1 濕拌砂漿
9 . 4 . 1 . 1 全部檢驗項目符合第 6 章要求時,則判該批產品合格。若有一項不符合要求,則判該批產品不合格。
9 . 4 . 1 . 2 其他特殊要求項目的檢驗結果符合合同要求為單項合格。
9 . 4 . 2 干混砂漿
9 . 4 . 2 . 1 全部檢驗項目符合第 6 章要求時,則判該批產品合格。若有一項不符合要求,則判該批產品不合格。
9 . 4 . 2 . 2 其他特殊要求項目的檢驗結果符合合同要求為單項合格。
10 訂貨與交貨
10 . 1 訂貨
10 . 1 . 1 購買預拌砂漿時,供需雙方應先簽定訂貨合同。
10 . 1 . 2 訂貨合同簽訂后,供方應按訂貨單組織生產和供應。訂貨單應包括以下內容:
a) 訂貨單位及聯系人;
b) 施工單位及聯系人;
c) 工程名稱;
d) 施工部位;
e) 交貨地點;
f) 砂漿標記;
g) 要求;
h) 供貨時間;
i) 供貨量;
j) 其他。
10 . 2 交貨
10 . 2 . 1 供需雙方應在合同規定的地點交貨。
10 . 2 . 2 交貨時,供方應隨每一運輸車向需方提供所運送預拌砂漿的發貨單。發貨單應包括以下內容: a) 合同編號;
b) 發貨單編號;
c) 工程名稱;
d) 施工部位;
e) 需方;
f) 供方;
g) 砂漿標記;
h) 要求;
i) 適用范圍;
j) 供貨日期;
k) 運輸車號;
l) 供貨量;
m) 發車時間、到達時間;
n) 供需雙方確認手續;
o) 其他。
需方應指定專人及時對所供預拌砂漿的質量、數量進行確認。
10 . 2 . 3 供方提供發貨單時應附上產品質量證明文件。
11 干混砂漿的包裝、標志、運輸和貯存
11 . 1 包裝
11 . 1 . 1 干混砂漿可袋裝或散裝。袋裝干混砂漿每袋凈含量不應少于其標志質量的 98 %,隨機抽取 20 袋總質量不應少于標志質量的總和。
11 . 1 . 2 干混砂漿包裝袋應符合 GB 9774 的規定。
11 . 2 標志
11 . 2 . 1 袋裝普通干混砂漿包裝上應有標志標明產品名稱、標記、商標、強度等級、加水量范圍、凈含量、生產日期或批號、生產單位、地址和電話;袋裝特種干混砂漿包裝上應有標志標明產品名稱、標記、商標、加水量范圍、凈含量、生產日期或批號、生產單位、地址和電話。若采用小包裝應附有產品使用說明書。
11 . 3 運輸和貯存
11 . 3 . 1 干混砂漿在運輸及貯存過程中不應受潮和混入雜物。不同品種和規格型號的干混砂漿應分別貯運,不應混雜。
11 . 3 . 2 散裝干混砂漿宜采用專用罐裝車運送,并提交與袋裝標志相同內容的卡片。貯存罐應密封、防水、防潮,并具有除塵裝置。更換砂漿品種時,貯存罐應清空并清理干凈。
11 . 3 . 3 袋裝普通干混砂漿的儲存期為 3 個月,袋裝特種干混砂漿的儲存期為 6 個月 ( 干混灌漿砂漿為 3 個月 ) 。散裝干混砂漿應在專用封閉式筒倉內儲存,儲存期為 3 個月。不同品種和規格型號的產品應分別貯存,不應混雜。
附 錄 A
( 規范性附錄 )
砂漿保水性試驗方法
A . 1 試驗條件
標準試驗條件為空氣溫度 23 ℃ 土 2 ℃ ,相對濕度 45 %~ 70 %。
A . 2 試驗儀器
A . 2 . 1 可密封的取樣容器,應清潔、干燥。
A . 2 . 2 金屬或硬塑料圓環試模,內徑 100mm ,內部深度 25mm 。
A . 2 . 3 2kg 的重物。
A . 2 . 4 醫用棉紗,尺寸為 110mm × 110mm ,宜選用紗線稀疏、厚度較薄的棉紗。
A . 2 . 5 超白濾紙,符合 GB/T1914 中速定性濾紙,直徑 110mm , 200g /m 2 。
A . 2 . 6 2 片金屬或玻璃的方形或圓形不透水片,邊長或直徑大于 110mm 。
A . 2 . 7 電子天平:量程 2000g ,分度值 0.1 g 。
A . 3 試驗步驟
A . 3 . 1 將試模放在下不透水片上,接觸面用黃油密封,保證水分不滲漏,稱其質量 m l 。
A . 3 . 2 稱量 8 片超白濾紙質量 m 2 。
A . 3 . 3 對于濕拌砂漿,直接用取樣容器在現場取樣。將取來的樣品一次裝入試模,裝至略高于試模邊緣,用搗棒順時針插搗 25 次,然后用抹刀將砂漿表面刮平,將試模邊的砂漿擦凈,稱量試模、下不透水片和砂漿的質量 m 3 。
對于干混砂漿,先將水加入砂漿攪拌機中,再加入待檢干混砂漿樣品,啟動機器,攪拌 3min ,砂漿稠度應符合第 8 章的要求。將攪拌均勻的砂漿一次裝入試模,裝至略高于試模邊緣,用搗棒順時針插搗 25 次,然后用抹刀將砂漿表面刮平,將試模邊的砂漿擦凈,稱量試模、下不透水片和砂漿的質量 m 3 。
A . 3 . 4 用 2 片醫用棉紗覆蓋在砂漿表面,再在棉紗表面放上 8 片濾紙。將上不透水片蓋在濾紙表面,然后用 2 kg 的重物壓著上不透水片。
A . 3 . 5 靜置 2min 后移走重物及上不透水片,取出濾紙 ( 不包括棉紗 ) ,迅速稱量濾紙質量 m 4 。
A . 3 . 6 根據砂漿配合比及加水量計算砂漿的含水率;若無法計算,可按 A . 5 測定砂漿的含水率。
A . 4 試驗結果
A . 4 . 1 砂漿保水性按式 (A . 1) 計算:
![]()
式中:
W ——砂漿保水性,%;
m 1 ——試模與下不透水片的質量, g ;
m 2 —— 8 片濾紙吸水前質量, g ;
m 3 ——試模、下不透水片與砂漿總質量, g ;
m 4 —— 8 片濾紙吸水后質量, g ;
α- ——砂漿含水率。
A . 4 . 2 取兩次試驗結果的平均值作為試驗結果。若兩個測定值中有一個超出平均值的 5 %,則此組試驗結果無效。
A . 5 砂漿含水率測試方法
A . 5 . 1 稱取 100g 砂漿拌合物試樣,置于一干燥并已稱重的盤中,在 105 ℃ ± 5 ℃ 的烘箱中烘干至恒重。按式 (A . 2) 計算砂漿的含水率,精確至 0.1 %。
![]()
式中:
α ——砂漿含水率,%;
m 5 ——烘干后砂漿樣本質量, g ;
m 6 ——砂漿樣本總質量, g 。
附 錄 B
( 規范性附錄 )
砂漿拉伸粘結強度試驗方法
B . 1 試驗條件
B . 1 . 1 標準試驗條件為空氣溫度 23 ℃ ± 2 ℃ ,相對濕度 45 %~ 70 %。
B . 2 試驗儀器
B . 2 . 1 拉力試驗機:破壞荷載應在其量程的 20 %~ 80 %范圍內,精度 1 %,最小示值 1N 。
B . 2 . 2 拉伸專用夾具:符合 JG/T 3049 的要求。
B . 2 . 3 成型框:外框尺寸 70 ㎜× 70mm ,內框尺寸 40mm × 40mm ,厚度 6mm ,材料為硬聚氯乙烯或金屬。
B . 2 . 4 鋼制墊板:外框尺寸 70mm × 70mm ,內框尺寸 43mm × 43mm ,厚度 3mm 。
B . 3 試件制備
B . 3 . 1 基底水泥砂漿試塊的制備
B . 3 . 1 . 1 原材料:水泥應符合 GB 175 的 42.5 級水泥;砂:符合 JGJ 52 的中砂;水:符合 JGJ 63 的飲用水。
B . 3 . 1 . 2 配合比:水泥:砂:水= 1 : 3 : 0.5( 質量比 ) 。
B . 3 . 1 . 3 成型:按上述配合比制成的砂漿倒人 70mm × 70 ㎜× 20mm 的硬聚氯乙烯或金屬模具中,振動成型。試模宜采用水性脫模劑。
B . 3 . 1 . 4 成型 24 h 后脫模,放入水中養護 6 d ,再在試驗條件下放置 21d 以上。試驗前用 200 #砂紙將水泥砂漿試塊的成型面磨平。
B . 3 . 2 干混砂漿料漿的制備
B . 3 . 2 . 1 待檢干混砂漿樣品應在試驗條件下放置 24h 以上。
B . 3 . 2 . 2 將水加入砂漿攪拌機中,再加入待檢樣品,啟動機器,攪拌 3min 。砂漿稠度應符合第 8 章的規定。
B . 3 . 3 拉伸粘結強度試件的制備
B . 3 . 3 . 1 將成型框放在按 B . 3 . 1 條制備好的水泥砂漿試塊的成型面上,將按 B . 3 . 2 條制備好的干混砂漿料漿或直接從現場取來的濕拌砂漿試樣倒入成型框中,用搗棒均勻插搗 15 次,人工顛實 5 次,再轉 90 °,人工顛實 5 次,然后用刮刀以 45 °方向抹平砂漿表面,輕輕脫模,在溫度 23 ℃ ± 2 ℃ 、相對濕度 60 %~ 80 %的環境中養護至規定齡期。
每一砂漿試樣至少制備 10 個試件。
B . 4 拉伸粘結強度試驗
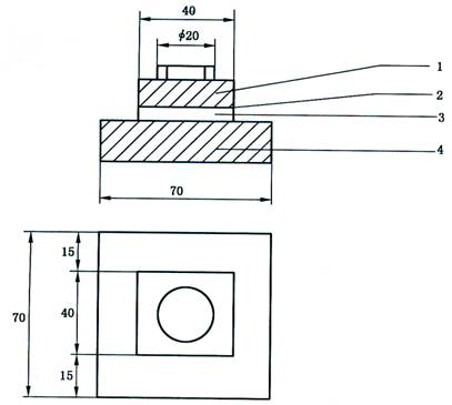
B . 4 . 1 第 13 d 時,在試件表面以及上夾具表面涂上高強度環氧樹脂粘合劑,然后將上夾具對正位置放在粘合劑上,并確保上夾具不歪斜,除去周圍溢出的粘合劑,繼續養護 24 h ,其示意圖見圖 B . 1 。
B . 4 . 2 將鋼制墊板套入基底水泥砂漿試塊上,將拉伸夾具安裝到試驗機上,夾具與試驗機的連接宜采用球鉸活動連接,以 5mm /min ± 1mm /min 速度加荷至試件破壞,記錄試件破壞時的荷載值。若破壞型式為拉伸夾具與粘合劑破壞,則試驗結果無效。

1 ——拉伸用鋼制上夾具;
2 ——粘合劑;
3 ——檢驗砂漿;
4 ——水泥砂漿試塊。
圖 B . 1 砂漿拉伸粘結強度示意圖
B . 5 試驗結果
B . 5 . 1 砂漿拉伸粘結強度按式 (B . 1) 計算:
![]()
式中:
? at ——砂漿拉伸粘結強度, MPa ;
F ——試件破壞時的荷載, N ;
A ——粘結面積, mm 2 。
單個試件的拉伸粘結強度值精確至 0.001 MPa 。計算 10 個試件的平均值,如單個試件的強度值與平均值之差超過 20 %,則逐次剔除偏差最大的試驗值,直至各試驗值與平均值之差不超過 20 %。如剩余數據不少于 6 個,則結果以剩余數據的平均值表示,精確至 0.01 MPa ;如剩余數據少于 6 個,則本次試驗結果無效,應重新制備試件進行試驗。
















